Takkaimuri Systemair ZRS 170
Toimitusaika: 2-3 arkipäivää
Systemair takkaimuri ZRS 170
Takkaimuri Systemair
LVI-7819102
Systemairin takkaimurit parantavat kamiinoiden, uunien ja avotakkojen vetoa. Takkaimuri on huomaamaton ja matalarakenteinen. Kuori on valettua alumiiniseosta. Siipi on ruostumatonta terästä. Takkaimuri toimitetaan metrin pituisella panssaripäällysteisellä kaapelilla ja kytkentärasialla. Teräsvaijeri, joka toimii varmuusvaijerina nuohotessa ja imuria huoltaessa, sisältyy toimitukseen.
ZRS 170 sopii pieniin tulipesiin, joissa on alle 0,35 m2 suuaukko, ja ZRS 180 sopii keskisuuriin tulipesiin, joiden suuaukot ovat 0,35-0,80 m2
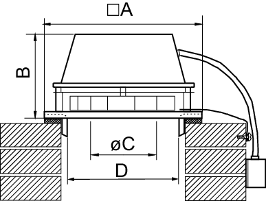
Tekniset mitat: Ks kuva yllä ja tiedot alla: tai sivun alalaidassa :
A 300
B 180
øC 132
max/min D =100/230
Ominaisuudet
RakenneZRS –takkaimurien kuori on valettua alumiiniseosta, joka on väriltään musta.
Takkaimurin mukana toimitetaan 1 metrin pituinen panssaripäällysteinen kaapeli ja kytkentärasia. Teräsvaijeri, joka toimii varmuusvaijerina nuohotessa ja imuria huoltaessa, sisältyy toimitukseen.
Siipipyörä
Puhallin ja siipipyörä on valmistettu ruostumattomasta teräksestä (ruostumattomasta ja hapon kestävästä), jotta se kestää jatkuvaa toimintaa korkeissa lämpötiloissa.
Moottori
ZRS –takkaimureissa on AC-moottorit eristysluokalla F. Kaikki moottorit ovat varustettu pitkäikäisillä kuulalaakereilla. Moottoreissa on kuumasinkityt siipipyörät tuomaan lisäjäähdytystä.
Moottorisuojaus
Ylikuumenemiselta suojaamiseksi kaikki moottorit on varustettu sisäisesti kytketyllä termisellä ylikuormitussuojalla (TOP).
Säätö
ZRS –takkaimureita voidaan säätää lisätarvikkeena saatavalla 5-portaisella tai portaattomalla nopeudensäätimellä.
Asennus
Takkaimuri sijoitetaan piipun päälle ja kiinnitetään mukana tulevilla neljällä säädettävällä tartuntaraudalla, jotka kiristetään piipun sisäpinnalle. Itse piippuun ei tarvita erillisiä liittimiä.
Tekniset tiedot
Tuotteen nimiZRS 170 takkaimuri
Tuotenumero
#1665
LVI
7819102
| 230V 1~ 50Hz | |||
|---|---|---|---|
| Nimellistiedot | |||
| Jännite (nimellis) | 230 | V | |
| Taajuus | 50 | Hz | |
| Vaiheet | 1~ | ||
| Ottoteho | 43 | W | |
| Syöttöteho kW | 0,043 | kW | |
| Syöttövirta | 0,19 | A | |
| Siipipyörän nopeus | 2 566 | rpm | |
| Ilmavirta | max 86 | L/s | |
| Kondensaattorin kapasitanssi | 1,5 | µF | |
| Kuljetetun ilman lämpötila | max 200 | °C | |
| Äänidata | |||
| Äänenpainetaso 10 m (vapaakenttä) | 37 | dB(A) | |
| Suojaus/luokitus | |||
| Kotelointiluokka, moottori | IP44 | ||
| Eristysluokka | F | ||
| Data ErP:n mukaan | |||
| ErP -valmis | Ei ErP relevantti | ||
| Mitat ja painot | |||
| Paino | 7,3 | kg | |
| Muut | |||
| Vaipan väri | Musta | ||
| Moottorityyppi | AC | ||
Suorituskyky
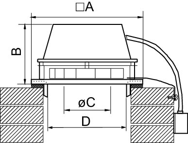
Mitat

A 300
B 180
øC 132
max/min D 100/230



